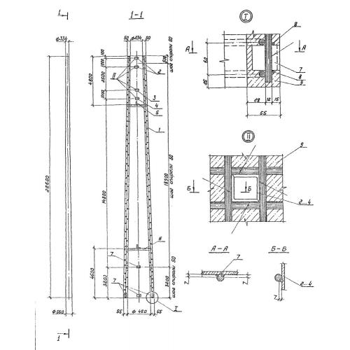
СК 22
Характеристики изделия:
| Параметр | Значение |
|---|---|
| длина | 22600 мм |
| ширина | 560 мм |
| высота | 560 мм |
| вес | 3928 кг |
| серия | 3.407.1-175 |
Цена:
Рассчитать стоимостьСК 22 Стойки конические по серии 3.407.1-175.
| Параметр | Значение |
|---|---|
| длина | 22600 мм |
| ширина | 560 мм |
| высота | 560 мм |
| вес | 3928 кг |
| серия | 3.407.1-175 |
СК 22 Стойки конические по серии 3.407.1-175.
