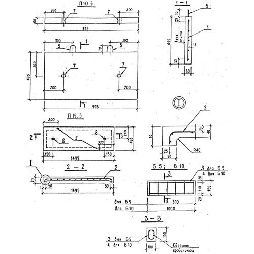
УБК-5 плиты лотков

Чертеж изделия:
Характеристики изделия:
ПараметрЗначение
длина995 мм
ширина495 мм
высота60 мм
масса73 кг
нормативный документСерия 3.407-102

УБК-5  Плиты перекрытия лотков кабельных каналов Серия 3.407-102.