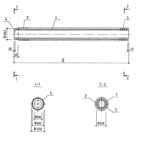
СК 10-40

Чертеж изделия:
Характеристики изделия:
ПараметрЗначение
длина10000 мм
ширина400 мм
высота400 мм
вес2010 кг
серия3.015-5/86

СК 10-40 Сваи полые круглые по серии 3.015-5/86.