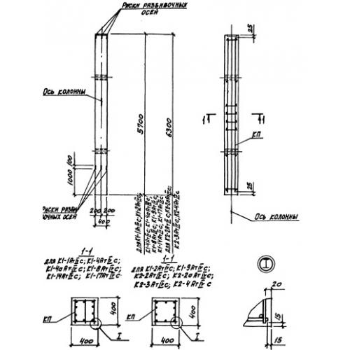
К 1

Чертеж изделия:
Характеристики изделия:
ПараметрЗначение
длина5700 мм
ширина400 мм
высота400 мм
масса2300 кг
нормативный документСерия 3.015-3/92

К 1  Колонны Серия 3.015-3/92.