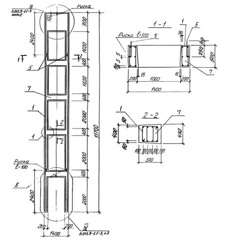
1КД 12 колонна крайняя

Чертеж изделия:
Характеристики изделия:
ПараметрЗначение
длина11700 мм
ширина1400 мм
высота500 мм
масса9250 кг
нормативный документСерия 3.013.9-1

1КД 12  Колонны двухветвевые  Серия 3.013.9-1.