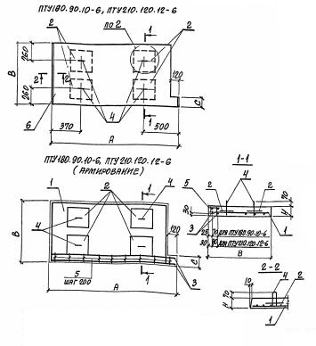
ПТУ 210.120.12 плиты лотков

Чертеж изделия:
Характеристики изделия:
ПараметрЗначение
длина2060 мм
ширина1180 мм
высота120 мм
масса690 кг
нормативный документСерия 3.006.1-8

ПТУ  210.120.12  Плиты перекрытия каналов угловые Серия 3.006.1-8.