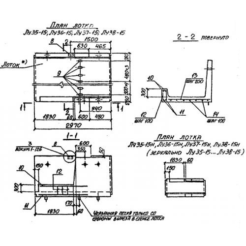
Лу 38

Чертеж изделия:
Характеристики изделия:
ПараметрЗначение
длина2970 мм
ширина4000 мм
высота1700 кг
масса8600 кг
нормативный документСерия 3.006.1-2/82

Лу 38  Лотки теплотрасс угловые Серия 3.006.1-2/82.