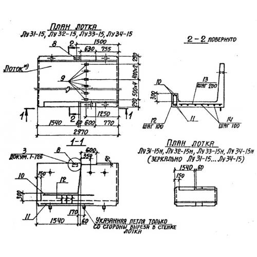
Лу 33

Чертеж изделия:
Характеристики изделия:
ПараметрЗначение
длина2970 мм
ширина3380 мм
высота1380 мм
вес6480 кг
серия3.006-2

Лу 33 Лотки теплотрасс угловые по серии 3.006-2.