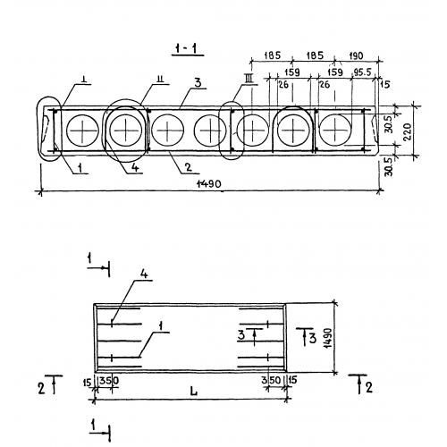
ПК 71.15 Плиты перекрытия железобетонные многопустотные

Чертеж изделия:
Характеристики изделия:
ПараметрЗначение
длина7060 мм
ширина1490 мм
высота220 мм
масса3316 кг
нормативный документСерия 1.141-1

ПК 71.15  Плиты перекрытия железобетонные многопустотные .