СБ 5.5-3.24.6-п-1

Чертеж изделия:
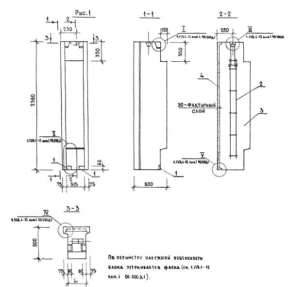
Характеристики изделия:
ПараметрЗначение
длина315 мм
ширина600 мм
высота2380 мм
масса730 кг
нормативный документСерия 1.138.1-12

Серия 1.138.1-12

СБ – стеновые блоки наружных стен, тип блока 5 – парапетный блок.