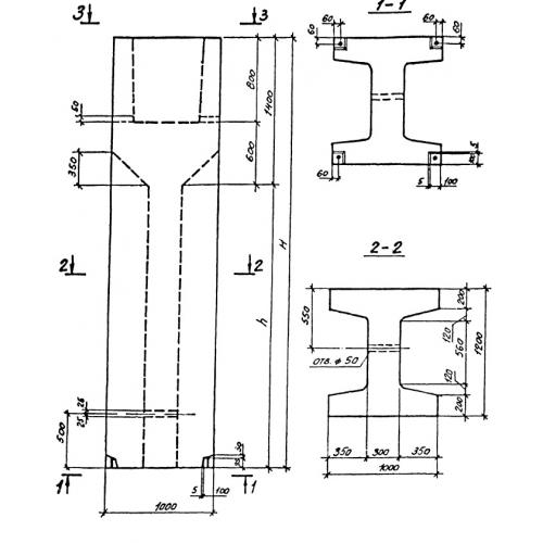
ВБ 10.12.15

Чертеж изделия:
Характеристики изделия:
ПараметрЗначение
длина1000 мм
ширина1200 мм
высота1490 мм
вес3720 кг
серия0-221-84

ВБ 10.12.15 Блоки-стаканы верхние по серии 0-221-84.