ТТ 3

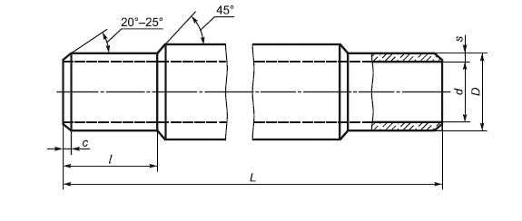
Чертеж изделия:
Характеристики изделия:
ПараметрЗначение
длина5950 мм
ширина224 мм
высота224 мм
масса131,49 кг
нормативный документГОСТ 31416-2009

ТТ 3  Хризотилцементные напорные трубы отопления  ГОСТ 31416-2009.